55 publications

Secretome from Human Micro-Fragmented Adipose Tissue Affects In Vitro Monocytes/Macrophages Inflammatory Activity by ICAM-1 Expression
Valentina Coccè, Eleonora Martegani, Francesca Paino, Luisa Doneda, Giulio Alessandri, Barbara Manfredi, Aldo Giannì, Emilio Ciusani, Elena Colombani, Carlo Tremolada, Augusto Pessina, Mediators of Inflammation, 2024
Technical considerations for isolated limb perfusion: A consensus paper
Andrew J. Hayes, David J. Coker, Lukas Been, Veerle WSM. Boecstaens, Sylvie Bonvalot, Franco De Cian, Luis de la Cruz-Merino, Carlos Duarte, Alexander Eggermont, Victor Farricha, Marco Fiore, Dirk Grünhagen, Robert Grützmann, Charles Honoré, Jens Jakob, Marko Hocevar, Winan van Houdt, Joseph Klauzner, Christoph Kettelhack, Angela Märten, Hector Martinez-Said, Maurice Matter, Audrey Michot, Maya Niethard, Elisabetta Pennacchioli, Lars E. Podleska, Gregorio Rabago, Marco Rastrelli, Sophie Reijers, Matilde Ribeiro, Matthias Schwarzbach, Hayden A. Snow, Miroslav Spacek, Stephan Stoldt, Alessandro Testori, Odysseas Zoras, Roger Olofsson Bagge, European Journal of Surgical Oncology, 2024

Micro fractured Adipose Tissue Graft (Lipogems), Regenerative Surgery and Potential Outcomes for Infectious and Cancer Diseases
Carlo Tremolada, Pierre Rocheteau, Carmelo Bisognano, Ofer Zeira, Giulio Alessandri, Journal of Stem Cell Research, 2023

Successful isolation of viable stem cells from cryopreserved microfragmented human adipose tissue from patients with knee osteoarthritis - a comparative study of isolation by tissue explant culture and enzymatic digestion
Jasmin Bagge, Per Hölmich, Freja Aabæk Hammer, Jan O. Nehlin, Kilian Vomstein, Lars Blønd, Lisbet Rosenkrantz Hölmich, Kristoffer Weisskirchner Barfod, Journal of Experimental Orthopaedics, 2023

Effects of Autologous Microfragmented Adipose Tissue on Bone Healing: A Blinded, Prospective, Randomised Canine Clinical Trial
Luca Pennasilico, Caterina Di Bella, Sara Sassaroli, Alberto Salvaggio, Francesco Roggiolani, Angela Palumbo Piccionello, MDPI, 2023

Micro-Fragmented Adipose Tissue as a Natural Scaffold for Targeted Drug Delivery in Brain Cancer
Alex Salagean, Adela Nechifor-Boila, Nosherwan Bajwa, Ylenia Pastorello, Mark Slevin, International Journal of Molecular Sciences, 2023

Microfractured Adipose Tissue Graft (Lipogems) and Regenerative Surgery
Carlo Tremolada, Journal of Orthopedic Research and Therapy, 2022

Long-term in vivo survival of 3D-bioprinted human lipoaspirate-derived adipose tissue: proteomic signature and cellular content
Karin Säljö, Peter Apelgren, Linnea Stridh Orrhult, Susann Li, Matteo Amoroso, Paul Gatenholm, Lars Kölby, Adipocyte, 2022

Chiara Ceresa, Alessia Borrone, Letizia Fracchia, Maurizio Rinaldi, Alice Marchetti, Carlo Tremolada, Michela Bosetti, Pharmaceutics, 2022

CD146+ Pericytes Subset Isolated from Human Micro-Fragmented Fat Tissue Display a Strong Interaction with Endothelial Cells: A Potential Cell Target for Therapeutic Angiogenesis
Ekta Manocha, Alessandra Consonni, Fulvio Baggi, Emilio Ciusani, Valentina Cocce, Francesca Paino, Carlo Tremolada, Arnaldo Caruso, Giulio Alessandri, International Journal of Molecular Sciences, 2022

Lipoaspirate Shows In Vitro Potential for Wound Healing
Chiara Ceresa, Alessia Borrone, Letizia Fracchia, Maurizio Rinaldi, Alice Marchetti, Carlo Tremolada, Michela Bosetti, Pharmaceutics, 2022

Characterization of Microfragmented Adipose Tissue Architecture, Mesenchymal Stromal Cell Content and Release of Paracrine Mediators
Enrico Ragni, Marco Viganò, Enrica Torretta, Carlotta Perucca Orfei, Alessandra Colombini, Carlo Tremolada, Cecilia Gelfi, Laura de Girolamo, Journal of Clinical Medicine, 2022

Case Report: Microfragmented Adipose Tissue Drug Delivery in Canine Mesothelioma: A Case Report on Safety, Feasibility, and Clinical Findings
Offer Zeira, Erica Ghezzi, Letizia Pettinari, Valentina Re, Davide M. Lupi, Silvia L. Benali, Simone Borgonovo, Giulio Alessandri, Francesco Petrella, Rita Paroni, Michele Dei Cas, Carlo Tremolada, Valentina Coccè, Augusto Pessina, Frontiers in Veterinary Science, 2021
Adipose-Derived Stem/Stromal Cells, Stromal Vascular Fraction, and Microfragmented Adipose Tissue
Enrico Ragni, Marco Viganò, Paola De Luca, Edoardo Pedrini, Laura de Girolamo, 2021

Comparison of Clinically Relevant Adipose Preparations on Articular Chondrocyte Phenotype in a Novel In Vitro Co-Culture Model
Lauren Kokai, Joseph Chen, Dong Wang, Sheri Wang, Francesco M. Egro, Benjamin Schilling, Hengyun Sun, Asim Ejaz, J. Peter Rubin, Jeffrey A. Gusenoff, Nam Vo, Kentaro Onishi, Gwendolyn Sowa, Stem Cells and Development, 2021
Adipose-Derived Stem/Stromal Cells, Stromal Vascular Fraction, and Microfragmented Adipose Tissue
Enrico Ragni, Marco Viganò, Paola De Luca, Edoardo Pedrini, Laura de Girolamo, 2021

Micro-fragmentation is a valid alternative to cell expansion and enzymatic digestion of adipose tissue for the treatment of knee osteoarthritis: a comparative preclinical study
Giuseppe Filardo, Matilde Tschon, Francesco Perdisa, Silvia Brogini, Carola Cavallo, Giovanna Desando, Gianluca Giavaresi, Brunella Grigolo, Lucia Martini, Nicolò Nicoli Aldini, Alice Roffi, Milena Fini, Elizaveta Kon, Knee Surgery, Sports Traumatology, Arthroscopy, 2021

Microfragmented adipose tissue is associated with improved ex vivo performance linked to HOXB7 and b-FGF expression
Giulia Casari, Elisa Resca, Andrea Giorgini, Olivia Candini, Tiziana Petrachi, Maria Serena Piccinno, Elisabetta Manuela Foppiani, Lucrezia Pacchioni, Marta Starnoni, Massimo Pinelli, Giorgio De Santis, Filippo Selleri, Fabio Catani, Massimo Dominici, Elena Veronesi, 2021

Autologous microfragmented adipose tissue reduces inflammatory and catabolic markers in supraspinatus tendon cells derived from patients affected by rotator cuff tears
Marco Viganò, Gaia Lugano, Carlotta Perucca Orfei, Alessandra Menon, Enrico Ragni, Alessandra Colombini, Paola De Luca, Pietro Randelli, Laura de Girolamo, International Orthopaedics, 2020

Method and Device for Preparing Non-Embryonic Stem Cells
Carlo Tremolada, Carlo Ventura, Milford Graves, United States Patent, 2020

Autologous Micro-Fragmented Adipose Tissue as Stem Cell-Based Natural Scaffold for Cartilage Defect Repair
Tengjing Xu, Xinning Yu, Quanming Yang, Xiaonan Liu, Jinghua Fang, Xuesong Dai, Cell Transplantation, 2019

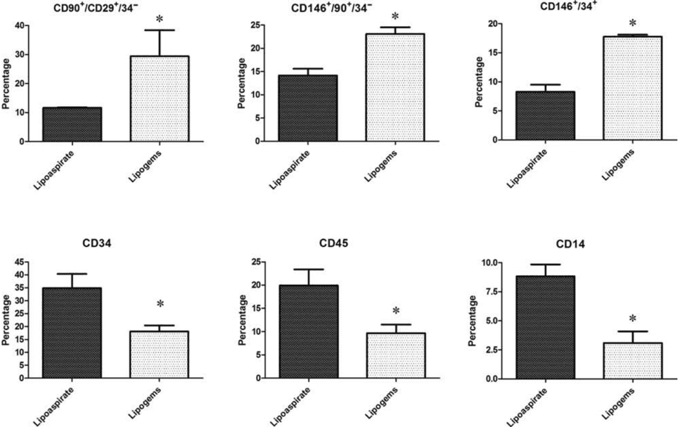
Immunophenotyping of a Stromal Vascular Fraction from Microfragmented Lipoaspirate Used in Osteoarthritis Cartilage Treatment and Its Lipoaspirate Counterpart
Denis Polancec, Lucija Zenic, Damir Hudetz, Igor Boric, Zeljko Jelec, Eduard Rod, Trpimir Vrdoljak, Andrea Skelin, Mihovil Plecko, Mirjana Turkalj, Boro Nogalo, Dragan Primorac, Genes, 2019

Long-Lasting Anti-Inflammatory Activity of Human Microfragmented Adipose Tissue
Sara Nava, Valeria Sordi, Luisa Pascucci, Carlo Tremolada, Emilio Ciusani, Offer Zeira, Moris Cadei, Gianni Soldati, Augusto Pessina, Eugenio Parati, Mark Slevin, Giulio Alessandri, Stem Cells International, 2019

Device and Method for Preparing Adipose Tissue for Transplantation
Carlo Ferdinando Maria Tremolada, Antonio Bosetto, Paolo Pirazzoli, United States Patent, 2019

Microfragmented human fat tissue is a natural scaffold for drug delivery: Potential application in cancer chemotherapy
Giulio Alessandri, Valentina Coccè, Fabio Pastorino, Rita Paroni, Michele Dei Cas, Francesco Restelli, Bianca Pollo, Laura Gatti, Carlo Tremolada, Angiola Berenzi, Eugenio Parati, Anna Teresa Brini, Gianpietro Bondiolotti, Mirco Ponzoni, Augusto Pessina, Journal of Controlled Release, 2019

Method for Preparing Tissue, Particularly Adipose Tissue, for Transplantation from Lobular Fat Extracted by Liposuction
Carlo Tremolada, United States Patent Application Publication, 2019

Mesenchymal Stromal Cells and Micro Fragmented Adipose Tissue: New Horizons of Effectiveness of Lipogems
Carlo Tremolada, Massimo Allegri, Mark Slevin, Journal of Stem Cells Research, Development and Therapy, 2019

Higher Pericyte Content and Secretory Activity of Microfragmented Human Adipose Tissue Compared to Enzymatically Derived Stromal Vascular Fraction
Bianca Vezzani, Isaac Shaw, Hanna Lesme, Li Yong, Nusrat Khan, Carlo Tremolada, Bruno Péault, Stem Cells Translational Medicine, 2018
Effect of microfragmented adipose tissue on osteoarthritic synovial macrophage factors
Francesca Paolella, Cristina Manferdini, Elena Gabusi, Laura Gambari, Giuseppe Filardo, Elizaveta Kon, Erminia Mariani, Gina Lisignoli, Journal of Cellular Physiology, 2018

Metabolomic changes in human adipose tissue derived products following non-enzymatic microfacturing
M. Garcia-Contreras, F. Messaggio, A. J. Mendez, C. Ricordi, 2018

Intra-Articular Administration of Autologous Micro-Fragmented Adipose Tissue in Dogs with Spontaneous Osteoarthritis: Safety, Feasibility, and Clinical Outcomes
Offer Zeira, Simone Scaccia, Letizia Pettinari, Erica Ghezzi, Nimrod Asiag, Laura Martinelli, Daniele Zahirpour, Maria P. Dumas, Martin Konar, Davide M. Lupi, Laurence Fiette, Luisa Pascucci, Leonardo Leonardi, Alistair Cliff, Giulio Alessandri, Augusto Pessina, Daniele Spaziante, Marina Aralla, Stem Cells Translational Medicine, 2018

A Nonenzymatic and Automated Closed-Cycle Process for the Isolation of Mesenchymal Stromal Cells in Drug Delivery Applications
Valentina Coccè, Anna Brini, Aldo Bruno Giannì, Valeria Sordi, Angiola Berenzi, Giulio Alessandri, Carlo Tremolada, Silvia Versari, Antonio Bosetto, Augusto Pessina, Unknown, 2018

Micro-fragmented fat injection reduces sepsis-induced acute inflammatory response in a mouse model
A. Bouglé, P. Rocheteau, M. Hivelin, A. Haroche, D. Briand, C. Tremolada, J. Mantz, F. Chrétien, British Journal of Anaesthesia, 2018

Mesenchymal Stem Cells and Regenerative Medicine: How Lipogems Technology Make Them Easy, Safe and More Effective to Use
Carlo Tremolada, 2017

Adipose Tissue and Mesenchymal Stem Cells: State of the Art and Lipogems® Technology Development
Carlo Tremolada, Valeria Colombo, Carlo Ventura, Current Stem Cell Reports, 2016

Lipogems Product Treatment Increases the Proliferation Rate of Human Tendon Stem Cells without Affecting Their Stemness and Differentiation Capability
Pietro Randelli, Alessandra Menon, Vincenza Ragone, Pasquale Creo, Sonia Bergante, Filippo Randelli, Laura De Girolamo, Umberto Alfieri Montrasio, Giuseppe Banfi, Paolo Cabitza, Guido Tettamanti, Luigi Anastasia, BioMed Research International, 2016

Angiogenic and anti-inflammatory properties of micro-fragmented fat tissue and its derived mesenchymal stromal cells
Valentina Ceserani, Anna Ferri, Angiola Berenzi, Anna Benetti, Emilio Ciusani, Luisa Pascucci, Cinzia Bazzucchi, Valentina Coccè, Arianna Bonomi, Augusto Pessina, Erica Ghezzi, Offer Zeira, Piero Ceccarelli, Silvia Versari, Carlo Tremolada, Giulio Alessandri, 2016

Human Lipoaspirate as Autologous Injectable Active Scaffold for One-Step Repair of Cartilage Defects
Michela Bosetti, Alessia Borrone, Antonia Follenzi, Fanuel Messaggio, Carlo Tremolada, Mario Cannas, Cell Transplantation, 2016

The Adipose Mesenchymal Stem Cell Secretome Inhibits Inflammatory Responses of Microglia: Evidence for an Involvement of Sphingosine-1-Phosphate Signalling
Giovanni Marfia, Stefania Elena Navone, Loubna Abdel Hadi, Moira Paroni, Valeria Berno, Matteo Beretta, Roberta Gualtierotti, Francesca Ingegnoli, Vincenzo Levi, Monica Miozzo, Jens Geginat, Lorenzo Fassina, Paolo Rampini, Carlo Tremolada, Laura Riboni, Rolando Campanella, 2016

Mesenchymal Stem Cells in Lipogems, a Reverse Story: from Clinical Practice to Basic Science
Carlo Tremolada, Camillo Ricordi, Arnold I. Caplan, Carlo Ventura, 2016

Characteristics and Properties of Mesenchymal Stem Cells Derived From Microfragmented Adipose Tissue
Stephana Carelli, Fanuel Messaggio, Alessandra Canazza, Danuta Maria Hebda, Filippo Caremoli, Elisa Latorre, Maria Grazia Grimoldi, Mattia Colli, Gaetano Bulfamante, Carlo Tremolada, Anna Maria Di Giulio, Alfredo Gorio, Cell Transplantation, 2015

Chemical Preconditioning Process for Cell Material to Obtain Chemical Epigenetic Reprogramming and Pluripotency Expression
Carlo Tremolada, Carlo Ventura, United States Patent Application Publication, 2015

Method and Device for Preparing Non-Embryonic Stem Cells
Carlo Tremolada, Carlo Ventura, Milford Graves, US Patent Application Publication, 2015

Device and a Method for Preparing a Tissue
Carlo Tremolada, United States Patent, 2015

Device and Method for Preparing Tissue, Particularly Adipose Tissue
Carlo Tremolada, United States Patent, 2015

Preparation and Method for Producing a Preparation Comprising Mesenchymal Stem Cells
Carlo Tremolada, U.S. Patent Application Publication, 2015

Differences in exosome content of human adipose tissue processed by non-enzymatic and enzymatic methods
M. García-Contreras, F. Messaggio, O. Jimenez, A. Mendez, 2014

Lipogems, a New Modality of Fat Tissue Handling to Enhance Tissue Repair in Chronic Hind Limb Ischemia
F. Bianchi, E. Olivi, M. Baldassarre, F.A. Giannone, M. Laggetta, S. Valente, C. Cavallini, R. Tassinari, S. Canaider, G. Pasquinelli, C. Tremolada, C. Ventura, 2014

Gene Expression Profile Analysis of Human Mesenchymal Stem Cells from Herniated and Degenerated Intervertebral Discs Reveals Different Expression of Osteopontin
Giovanni Marfia, Stefania Elena Navone, Clara Di Vito, Silvia Tabano, Lorenzo Gianmattei, Andrea Di Cristofori, Roberta Gualtierotti, Monica Miozzo, Paolo Rampini, Manuela Caroli, Laura Riboni, Rolando Campanella, 2014

Radioelectric Asymmetric Conveyed Fields and Human Adipose-Derived Stem Cells Obtained With a Nonenzymatic Method and Device: A Novel Approach to Multipotency
Margherita Maioli, Salvatore Rinaldi, Sara Santaniello, Alessandro Castagna, Gianfranco Pigliaru, Alessandro Delitala, Francesca Bianchi, Carlo Tremolada, Vania Fontani, Carlo Ventura, Cell Transplantation, 2014

A New Nonenzymatic Method and Device to Obtain a Fat Tissue Derivative Highly Enriched in Pericyte-Like Elements by Mild Mechanical Forces From Human Lipoaspirates
Francesca Bianchi, Margherita Maioli, Erika Leonardi, Elena Olivi, Gianandrea Pasquinelli, Sabrina Valente, Armando J. Mendez, Camillo Ricordi, Mirco Raffaini, Carlo Tremolada, Carlo Ventura, Cell Transplantation, 2013
Radio Electric Asymmetric Conveyed Fields and Human Adipose-Derived Stem Cells Obtained with a Non-Enzymatic Method and Device
Margherita Maioli, Salvatore Rinaldi, Sara Santaniello, Alessandro Castagna, Gianfranco Pigliaru, Alessandro Delitala, Francesca Bianchi, Carlo Tremolada, Vania Fontani, Carlo Ventura, Cell Transplantation, 2013
Effects of immunosuppression on proliferation in transplanted islets
Christian Krautz, Steffen Wolk, Anja Steffen, Klaus-Peter Knoch, Uta Ceglarek, Hans-Detlev Saeger, Michele Solimena, Stephan Kersting, Cell Transplantation, 2011
Mesenchymal Stem Cells in Lipogems, a Reverse Story: from Clinical Practice to Basic Science
Carlo Tremolada, Camillo Ricordi, Arnold I. Caplan, Carlo Ventura
Adipocyte Transplantation and Stem Cells: Plastic Surgery Meets Regenerative Medicine
Carlo Tremolada, Giancarlo Palmieri, Camillo Ricordi